BATTERY SWITCH
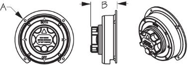
Machined Brass/Injection Molded Nylon| Bulk | Display | A | B | Function | Volts | Amps | Stud Diameter | Fastener | Weight | Std. Pack | Add to List |
|---|---|---|---|---|---|---|---|---|---|---|---|
| 422780 | 422780-1 | 6-3/8" | 2-1/2" | Off/1/Both Batteries/2 | 36 | 300 | 3/8" | #10 RH | 1.25 | 1 ea | |
| 422781 | 422781-1 | 6-3/8" | 2-1/2" | On/Off (2 Output) | 36 | 300 | 1/2" | #10 RH | 1.43 | 1 ea |
Battery disconnect and selector switches either switch a single battery to a single load group (422780 & 422781) or isolates and/or combines two battery banks (422780). Can be surface or rear panel mounted. Constructed of injection molded nylon with machined brass contacts. Installs with four #10 RH fasteners (not included).
⚠ Warning: Cancer and Reproductive Harm – www.P65Warnings.ca.gov

Project List (0)

